Lose/Spiel im Zündverteilerantrieb
Lose/Spiel im Zündverteilerantrieb
Hallo miteinander,
bei meinem 3.0CS habe ich Spiel im Zündverteilerantrieb festgestellt.
Es ist nicht der Verteiler selbst (zerlegt), sondern im Antrieb.
Es gibt wohl etwas Spiel zwischen
- Verteilerantriebswelle und Zündverteilerwelle
- zwischen Nockenwelle und Verteilerwelle in axialer Richtung (ineinander gesteckt)
Wenn ich den Zündzeitpunkt einstelle, ist der nicht ganz stabil sondern springt immer leicht und her.
Ist das signifikant ? Hat schon jemand Erfahrungen damit oder gar Abhilfeideen ?
.. heutige Motormanagementsysteme kennen die Drehwinkelposition der Kurbelwelle auf 0,0x Grad genau...
Danke und Grüsse;
Willy
bei meinem 3.0CS habe ich Spiel im Zündverteilerantrieb festgestellt.
Es ist nicht der Verteiler selbst (zerlegt), sondern im Antrieb.
Es gibt wohl etwas Spiel zwischen
- Verteilerantriebswelle und Zündverteilerwelle
- zwischen Nockenwelle und Verteilerwelle in axialer Richtung (ineinander gesteckt)
Wenn ich den Zündzeitpunkt einstelle, ist der nicht ganz stabil sondern springt immer leicht und her.
Ist das signifikant ? Hat schon jemand Erfahrungen damit oder gar Abhilfeideen ?
.. heutige Motormanagementsysteme kennen die Drehwinkelposition der Kurbelwelle auf 0,0x Grad genau...
Danke und Grüsse;
Willy
Re: Lose/Spiel im Zündverteilerantrieb
Mein freundlicher Bosch-Reparatuer hat das bei meinem auch festgestellt als er die Ursache für das Motorruckeln untersucht hat.
Er hat das Spiel mit einer passenden Unterlegscheibe behoben.
Wie er das genau gemacht hat kann ich leider nicht sagen, es hält aber bis heute (ca. 6 Monate)
Hoffe das hilft trotzdem ...
Viele Grüße
Freddie
Er hat das Spiel mit einer passenden Unterlegscheibe behoben.
Wie er das genau gemacht hat kann ich leider nicht sagen, es hält aber bis heute (ca. 6 Monate)
Hoffe das hilft trotzdem ...
Viele Grüße
Freddie
Re: Lose/Spiel im Zündverteilerantrieb
Hallo Freddie,
danke für die Info.
Das bestätigt, dass das ein relevantes Thema ist.
Bei der technischen Lösung habe ich seither gezögert, mit einer U-Scheibe oder so zu arbeiten,
weil ich so möglicherweise eine temperaturabhängige Spannung zwischen Nockenwelle und Stirndeckel aufbauen würde.
Aber das sieht vielleicht nur der Theoretiker so.
Grüsse;
Willy
danke für die Info.
Das bestätigt, dass das ein relevantes Thema ist.
Bei der technischen Lösung habe ich seither gezögert, mit einer U-Scheibe oder so zu arbeiten,
weil ich so möglicherweise eine temperaturabhängige Spannung zwischen Nockenwelle und Stirndeckel aufbauen würde.
Aber das sieht vielleicht nur der Theoretiker so.
Grüsse;
Willy
Re: Lose/Spiel im Zündverteilerantrieb
Hallo,
nur mal für mein Verständnis, wo werden denn U-Scheiben untergelegt um das Spiel zwischen dem Ritzel auf der Verteilerwelle und dem Antriebsritzel zu verkleinern? Nach meinem Verständnis müsste das Ritzel auf der Welle nach unten gebracht werden. (schwierig, weil der Stift der das Ritzel auf der Verteilerwelle fixiert dann nicht mehr passt) Wenn man den Verteiler selbst anhebt müsste das Spiel ja noch größer werden. Vielleicht denke ich da auch falsch. Habe meinen Verteiler noch nie ausgebaut.
Gruß
Egbert
nur mal für mein Verständnis, wo werden denn U-Scheiben untergelegt um das Spiel zwischen dem Ritzel auf der Verteilerwelle und dem Antriebsritzel zu verkleinern? Nach meinem Verständnis müsste das Ritzel auf der Welle nach unten gebracht werden. (schwierig, weil der Stift der das Ritzel auf der Verteilerwelle fixiert dann nicht mehr passt) Wenn man den Verteiler selbst anhebt müsste das Spiel ja noch größer werden. Vielleicht denke ich da auch falsch. Habe meinen Verteiler noch nie ausgebaut.
Gruß
Egbert
Re: Lose/Spiel im Zündverteilerantrieb
Hallo,
Ich schließe mich mal an, auch wenn ich das eher im 6er/7er Forum machen sollte, da es um einen M30B35 L-Jet geht.
Aber es kennen sich ja auch hier einige damit aus.
Bei mir verstellt sich die Zündung von alleine, im Fahrbetrieb, soweit dass der Wagen aus geht, teilweise nicht mehr anspringt und im Lastbereich stark ruckelt. Oder in 30 Zonen aus geht.
Könnte das auch daran liegen, wie oben beschrieben? Oder eher dass der Verteiler an sich den Geist aufgibt? Transistorsteuergerät wurde schon getauscht, Problem trat wieder auf.
Wenn ich den Zündwinkel dann wieder auf früh stelle springt der wieder an, läuft aber dann auch nicht schön.
Werde es wohl nicht mit dem nach Dyck schaffen, schade! Grade BBS drauf... :-(
Grüße,
Jonas
Ich schließe mich mal an, auch wenn ich das eher im 6er/7er Forum machen sollte, da es um einen M30B35 L-Jet geht.
Aber es kennen sich ja auch hier einige damit aus.
Bei mir verstellt sich die Zündung von alleine, im Fahrbetrieb, soweit dass der Wagen aus geht, teilweise nicht mehr anspringt und im Lastbereich stark ruckelt. Oder in 30 Zonen aus geht.
Könnte das auch daran liegen, wie oben beschrieben? Oder eher dass der Verteiler an sich den Geist aufgibt? Transistorsteuergerät wurde schon getauscht, Problem trat wieder auf.
Wenn ich den Zündwinkel dann wieder auf früh stelle springt der wieder an, läuft aber dann auch nicht schön.
Werde es wohl nicht mit dem nach Dyck schaffen, schade! Grade BBS drauf... :-(
Grüße,
Jonas
Re: Lose/Spiel im Zündverteilerantrieb
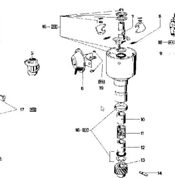
Hallo, von welcher Scheibe bzw. Position ist hier die Rede?
bei der kurzen Welle (5) oder zwischen 12+13 Zündverteiler? Danke
bei der kurzen Welle (5) oder zwischen 12+13 Zündverteiler? Danke
Re: Lose/Spiel im Zündverteilerantrieb
Hallo Thomas,
die kurze Welle mit der Nummer 6.
Grüsse; Willy
die kurze Welle mit der Nummer 6.
Grüsse; Willy
Re: Lose/Spiel im Zündverteilerantrieb
Hallo Willy, entschuldige meine missverständliche Ausdrucksweise :-)
Das die Welle die #6 hat ist (mir) eindeutig - ich wollte vielmehr in Erfahrung bringen ob jemand weis ob das Spiel an der Stelle #5 (gezeigte Scheibe) verändert wurde? Oder (auch) auf der Gegenseite, so das dort das mögliche größere Bewegungsspiel eingeschränkt wurde und/oder gar #5 unverändert bleibt...
Ich versuche derweil auch zu verstehen wie genau #6 gelagert ist und was #5 genau ist und wo/wie genau auf der Seite des Gehäuses und Seite Nockenwelle positioniert ist - ich schaue mal ob es eine Art Schnittzeichnung oder sowas ähnliches von der Welle dort in der Rep-Anleitung oder sonst wo gibt - hatte daran überhaupt nicht gedacht als ich vor 5J die Motorrevision gemacht hatte... Ich bin nochmal gefahren und kann sagen das sich das Problem definitiv positiv verändert (verringert) hat - ganz sauber läuft der Motor noch nicht - kümmere mich gerade um einen Termin und erneute überprüfung CO/HC , Bedüsungsanpassung usw
Die Welle des alten Verteilers hat auf jedenfall merklich Spiel.
Werde auch am Wochenende nochmal die Kugel am Schwungrad anblitzen um zu sehen das die jetzt schon weniger hin u her springt...
Danke!
Das die Welle die #6 hat ist (mir) eindeutig - ich wollte vielmehr in Erfahrung bringen ob jemand weis ob das Spiel an der Stelle #5 (gezeigte Scheibe) verändert wurde? Oder (auch) auf der Gegenseite, so das dort das mögliche größere Bewegungsspiel eingeschränkt wurde und/oder gar #5 unverändert bleibt...
Ich versuche derweil auch zu verstehen wie genau #6 gelagert ist und was #5 genau ist und wo/wie genau auf der Seite des Gehäuses und Seite Nockenwelle positioniert ist - ich schaue mal ob es eine Art Schnittzeichnung oder sowas ähnliches von der Welle dort in der Rep-Anleitung oder sonst wo gibt - hatte daran überhaupt nicht gedacht als ich vor 5J die Motorrevision gemacht hatte... Ich bin nochmal gefahren und kann sagen das sich das Problem definitiv positiv verändert (verringert) hat - ganz sauber läuft der Motor noch nicht - kümmere mich gerade um einen Termin und erneute überprüfung CO/HC , Bedüsungsanpassung usw
Die Welle des alten Verteilers hat auf jedenfall merklich Spiel.
Werde auch am Wochenende nochmal die Kugel am Schwungrad anblitzen um zu sehen das die jetzt schon weniger hin u her springt...
Danke!
- MalagaJörg
- Beiträge: 13
- Registriert: Mo 24. Feb 2014, 09:09
- Wohnort: BB
Re: Lose/Spiel im Zündverteilerantrieb
Hallo Tommy75,
selbst habe ich das zwar auch noch nicht gemacht, aber so wie es sich anhört hat das der Bosch Dienst so kurz mal erledigt. Dann kann es eigentlich nur am Zündverteiler zwischen 12 + 13 passiert sein.
MFG Jörg
selbst habe ich das zwar auch noch nicht gemacht, aber so wie es sich anhört hat das der Bosch Dienst so kurz mal erledigt. Dann kann es eigentlich nur am Zündverteiler zwischen 12 + 13 passiert sein.
MFG Jörg
Re: Lose/Spiel im Zündverteilerantrieb
Hallo nochmals zusammen,
vielleicht nochmals mein Startpunkt (2016?):
Ich beobachtete auch einen springenden Zündzeitpunkt und stellte dann fest, dass ich der Verteiler (abseits der Fliehkraftverstellung) ein Verdrehspiel hatte. Eine grobe Messung ergab 9 Grad; also viel zu viel.
Die Analyse des Verteilers ergab keine weiteren Hinweise wie zB Lagerspiel.
Ich habe dann mit ein paar Massnahmen "Ruhe bekommen".
a) Die Welle 6 geführt von der Nockenwelle und eine Lagerung im Räderkastendeckel hatte 0,35mm Spiel in axialer Richtung.
Diese Lose führen aufgrund der Schrägverzahnung zum Zündverteiler zu einem leichten Springen des ZZP.
Wie gesagt habe ich dann 0,1mm Passscheiben untergelegt und so das Spiel beseitigt. Das steht (nirgends) in einer Reparaturanleitung.
Das Spiel entsteht zB wenn die Dichtung unter dem Räderkastendeckel getauscht wird und die neue etwas dicker ist.
b) Zum zweiten waren die Schrägverzahnungen ganz leicht eingelaufen.Man kann nun experimentell den Zündverteiler zB durch Unterlegen eines O-Rings um wenige mm weiter raus aus dem Zylinderkopf zu positionieren. Dann läuft zumindest der Zündverteiler an einer anderen Stelle der Schrägverzahnung. > Ersatz 6 + 13.
> Damit war nach meiner Erinnerung "Ruhe"
c) Die Rückstellfeder der Fliehkaftverstellung lascht im Laufe der Zeit etwas ab. Kann man durch Nachbiegen der Haltefeder kompensieren.
d) Und dann ´ne kontatklose Zündung.
Grüsse; Willy
vielleicht nochmals mein Startpunkt (2016?):
Ich beobachtete auch einen springenden Zündzeitpunkt und stellte dann fest, dass ich der Verteiler (abseits der Fliehkraftverstellung) ein Verdrehspiel hatte. Eine grobe Messung ergab 9 Grad; also viel zu viel.
Die Analyse des Verteilers ergab keine weiteren Hinweise wie zB Lagerspiel.
Ich habe dann mit ein paar Massnahmen "Ruhe bekommen".
a) Die Welle 6 geführt von der Nockenwelle und eine Lagerung im Räderkastendeckel hatte 0,35mm Spiel in axialer Richtung.
Diese Lose führen aufgrund der Schrägverzahnung zum Zündverteiler zu einem leichten Springen des ZZP.
Wie gesagt habe ich dann 0,1mm Passscheiben untergelegt und so das Spiel beseitigt. Das steht (nirgends) in einer Reparaturanleitung.
Das Spiel entsteht zB wenn die Dichtung unter dem Räderkastendeckel getauscht wird und die neue etwas dicker ist.
b) Zum zweiten waren die Schrägverzahnungen ganz leicht eingelaufen.Man kann nun experimentell den Zündverteiler zB durch Unterlegen eines O-Rings um wenige mm weiter raus aus dem Zylinderkopf zu positionieren. Dann läuft zumindest der Zündverteiler an einer anderen Stelle der Schrägverzahnung. > Ersatz 6 + 13.
> Damit war nach meiner Erinnerung "Ruhe"
c) Die Rückstellfeder der Fliehkaftverstellung lascht im Laufe der Zeit etwas ab. Kann man durch Nachbiegen der Haltefeder kompensieren.
d) Und dann ´ne kontatklose Zündung.
Grüsse; Willy
Re: Lose/Spiel im Zündverteilerantrieb
Hallo,
Willy,
habe jetzt auf 123ignition elektronischen Verteiler (bluetooth Variante "früh") umgestellt. (Finger ohne Fliehkraftbegrenzer).
Kurve entsprechend programmierung ist / war korrekt.
Allein damit ist der Motor besser gelaufen, vor allem bei Start und niedriger Drehzahl spürbar. (bedeutet also Spiel im alten mech. Verteiler)
Vergaser/Gemisch neu eingestellt, synchronisiert und Zündung fein eingestellt.
Dabei herausgefunden das ein Zündkerzenstecker (war erst 5Wochen alt!) Kontaktprobleme hatte (vermute "innerlich" da richtig ins Kabel eingeschraubt. Das war final der Grund für das schnattern/Motorrucken, sporadisch, vor allem bei hoher Wärme!
Final auf einen Rollenprüfstand mit dem Ergebnis das der Motor vorher ca 166PS und nun ca 173PS hat. Gutes Drehmoment über fast den gesamten Bereich - fährt sich nahezu top :-) Hoffe das jetzt alles mal stabil bleibt - werde mir noch die ganzen Positionen der Stell-Schrauben im Detail festhalten.
Danke + Gruß!
Willy,
habe jetzt auf 123ignition elektronischen Verteiler (bluetooth Variante "früh") umgestellt. (Finger ohne Fliehkraftbegrenzer).
Kurve entsprechend programmierung ist / war korrekt.
Allein damit ist der Motor besser gelaufen, vor allem bei Start und niedriger Drehzahl spürbar. (bedeutet also Spiel im alten mech. Verteiler)
Vergaser/Gemisch neu eingestellt, synchronisiert und Zündung fein eingestellt.
Dabei herausgefunden das ein Zündkerzenstecker (war erst 5Wochen alt!) Kontaktprobleme hatte (vermute "innerlich" da richtig ins Kabel eingeschraubt. Das war final der Grund für das schnattern/Motorrucken, sporadisch, vor allem bei hoher Wärme!
Final auf einen Rollenprüfstand mit dem Ergebnis das der Motor vorher ca 166PS und nun ca 173PS hat. Gutes Drehmoment über fast den gesamten Bereich - fährt sich nahezu top :-) Hoffe das jetzt alles mal stabil bleibt - werde mir noch die ganzen Positionen der Stell-Schrauben im Detail festhalten.
Danke + Gruß!
Re: Lose/Spiel im Zündverteilerantrieb
Hallo Thomas,
freut mich sehr, dass der 6 Zylinder wieder schnurrt wie er soll !
Grüsse; Willy
freut mich sehr, dass der 6 Zylinder wieder schnurrt wie er soll !
Grüsse; Willy